• 8810阅读
  • 4回复

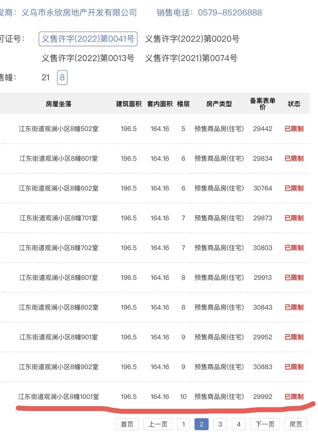
[义乌故事]开发商又出来虚假宣传了,被限制的房子拿出来卖 [复制链接]

上一主题 下一主题
离线猪猪卡卡
 

发帖
417
奖学金
137
威望
989
微信分享到朋友圈 图酷模式 只看楼主 倒序阅读 腔主  发表于: 2022-11-08
马上注册,结交更多好友,享用更多功能,让你轻松玩转义乌十八腔,更多精彩评论请登录后查看。
  已有账号?点击登录
关闭
明明是被限制,不允许交易的房子,却违规售卖,不管是真实售卖,还是虚假广告引诱购房,都不是一个正规房企干得出来的。大家买房时一定要查看一下政府网的房源信息公开,如果这个楼盘有房子是"被限制"的,慎买,买了你会懂。

3条评分威望+3
特别声明:帖子及回帖全部内容为论坛用户自行上传发布并承担相应的法律责任,不代表本网站观点和立场,本网站仅提供信息存储服务。任何用户如认为页面上的特定内容涉及侵权,可通过页面底部侵权投诉指引向我们进行投诉。
本帖共有4条回复,请登录后查看。
  已有账号?点击登录
快速回复
限100 字节
如果您在写长篇帖子又不马上发表,建议存为草稿