• 6609阅读
  • 18回复

[义乌楼市]99轮出价!2493万!义乌一法拍房成交 [复制链接]

上一主题 下一主题
离线网站十五
 

发帖
8440
奖学金
12021
威望
65054
微信分享到朋友圈 图酷模式 只看楼主 倒序阅读 腔主  发表于: 2024-07-30
马上注册,结交更多好友,享用更多功能,让你轻松玩转义乌十八腔,更多精彩评论请登录后查看。
  已有账号?点击登录
关闭
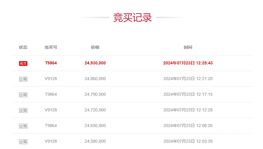
7月23日,在阿里巴巴司法拍卖网络平台上,经过99轮出价,坐落于四季五区199号的不动产最终以2493万元顺利成交。

该不动产评估价1952万元,起拍价1464万元,保证金219.6万元,增价幅度7万元(或整倍数)

本次拍卖共有4人报名参拍,吸引10801次围观。


义乌市四季五区199号的住宅房地产,用途为一般住宅/住宅用地,钢筋混凝土结构,南北朝向,建于2008年,共4层,所处-1-3层,建筑面积618.96平方米。土地使用权面积146.33平方米,土地使用权终止日期2076年09月24日。登记日期2010年06月10日。

地下室设有运动室、放映室、储藏间、卫生间等;1层为1室3厅1厨3卫1车库及储藏间;2层为4室3卫生间及阳台;3层为多室及衣帽间设3卫生间及阳台;室内精装修。设有中央空调(无外机)。估价对象于价值时点未腾空,室内状况以交房时为准。部分墙体有轻微渗漏现象。

权证编号情况:权证号码为义乌房权证北苑字第c00059365号、义乌房权证北苑字第c00059366号、义乌国用(2010)第004-88049号。



特别说明:
1、该标的房屋未腾空,拍卖成交后三个月内交付。
2、该标的房屋尚未缴纳2022、2024自然年物业费约19912元。上述物业费情况仅供参考,具体情况咨询拍品所在小区物业,欠费由买受人自行承担。
3、该标的房屋存在违章,根据国土回函,未登记部分不能办理转移登记,本院仅以现状交付,不负责过户。

买受人未在公告第九条确定的时间内缴清余款的,即为悔拍。由法院裁定重新拍卖,交纳的保证金不予退还。重新拍卖的价款低于原拍卖价款造成的差价,由原买受人承担。法院可以直接从其预交的保证金中扣除,保证金数额不足的,可以责令原买受人补交,拒不补交的,强制执行。



整理:义乌房子网
编辑:网站十五

加房小白微信
陪你畅谈义乌楼市



8条评分威望+8
特别声明:帖子及回帖全部内容为论坛用户自行上传发布并承担相应的法律责任,不代表本网站观点和立场,本网站仅提供信息存储服务。任何用户如认为页面上的特定内容涉及侵权,可通过页面底部侵权投诉指引向我们进行投诉。
本帖共有18条回复,请登录后查看。
  已有账号?点击登录
快速回复
限100 字节
如果您在写长篇帖子又不马上发表,建议存为草稿