• 4123阅读
  • 16回复

[义乌楼市]28轮出价!2841万!义乌一法拍房成交 [复制链接]

上一主题 下一主题
离线网站十五
 

发帖
8440
奖学金
12021
威望
65054
微信分享到朋友圈 图酷模式 只看楼主 倒序阅读 腔主  发表于: 2024-06-01
马上注册,结交更多好友,享用更多功能,让你轻松玩转义乌十八腔,更多精彩评论请登录后查看。
  已有账号?点击登录
关闭
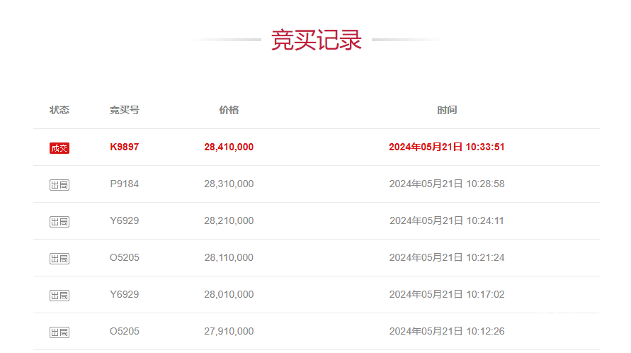
5月21日,在阿里巴巴司法拍卖网络平台上,经过28轮出价,坐落于义乌市欧景花园B区55幢2号的不动产最终以2841万元顺利成交。

该不动产评估价2775万元,起拍价2081万元,保证金312万元,增价幅度10万元(或整倍数)

本次拍卖共有7人报名参拍,吸引15081次围观。


位于义乌市欧景花园B区55幢2号,房屋总层数5层,所在层第-1-4层,房屋建筑面积729.21平方米(其中1-4层建筑面积558.01平方米,-1层建筑面积171.2平方米),钢混结构,布局为双拼别墅,南北朝向,已装修,规划用途一般住宅、非住宅,土地使用权面积133.64㎡,使用权类型为出让,终止日期2077年5月16日。

权证编号情况:义乌国用(2010)第003-03857号,义乌房权证稠江字第c00073010号、义乌房权证稠江字第c00073011号,义乌房权证稠江字第c00073012号。



风险披露及特别提示:
1、无租赁,于拍卖成交付款后三个月内腾空交付。
2、地下室存在扩建,本院仅以现状交付,不负责过户,由买受人自行承担法律风险。

买受人未在公告第九条确定的时间内缴清余款的,即为悔拍。由法院裁定重新拍卖,保证金不予退还。重新拍卖的价款低于原拍卖价款造成的差价,由原买受人承担。法院可以直接从其预交的保证金中扣除,保证金数额不足的,可以责令原买受人补交,拒不补交的,强制执行。



整理:义乌房子网
编辑:网站十五

加房小白微信
陪你畅谈义乌楼市


11条评分威望+11
12
特别声明:帖子及回帖全部内容为论坛用户自行上传发布并承担相应的法律责任,不代表本网站观点和立场,本网站仅提供信息存储服务。任何用户如认为页面上的特定内容涉及侵权,可通过页面底部侵权投诉指引向我们进行投诉。
本帖共有16条回复,请登录后查看。
  已有账号?点击登录
快速回复
限100 字节
如果您在写长篇帖子又不马上发表,建议存为草稿